We use EnRoute in all kinds of ways to help us in our work. In doing so we create accurate scale renderings for presentations and at the same time create the vectors we need for our plasma cutting and CNC routing. This saves a whole to of time at the design stage of our projects.
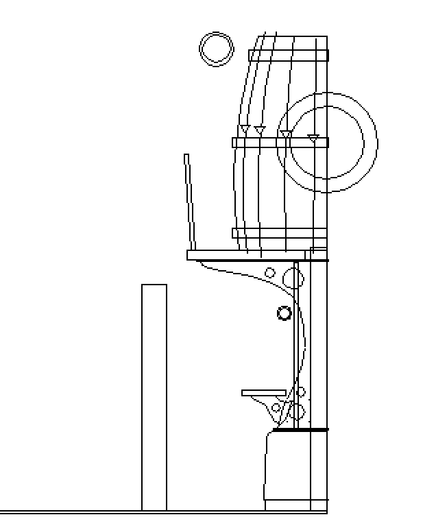
Currently we have a project going through the design stage that is a good example. It will be a still for a pub. We travelled to our customers location (4000 miles distant) and while there took measurements and did some sketching of our ideas. This is the very quick sketch for the still which I did on location. The still will fit into a room that is fourteen and a half feet tall. It needs to be built in sections so it will fit around an existing post. A ‘standing table’ will go around it. The customer requested we keep it to around four feet in diameter to preserve valuable floor space. The top can extend outside of that measurement as needed.


